|     因防爆接線盒規格比較多,網上價格僅供參考,不作為最終的成交價,具體價格請來電咨詢:13809056670 
  
 
 適用於1區、2區危險場所;適用於ⅡA、ⅡB類爆炸性氣體環境; 適用於爆炸性氣體混合溫度:T1~T4; 廣泛用於石油開采、練油、化工、軍工等危險環境及海洋石油平臺、油輪等危險場所工作及場景照明之用。 註:要求IIC類貨戶外使用時請註明
 
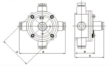
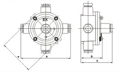
 本產品外殼采用ZL102鋁合金壓鑄成型,表麵高壓靜電噴塑,配不銹鋼外露緊固件,產品外形美觀。進出線口有多種方式及規格;  鋼管佈線;符合GB3836——2000、IEC60079標準要求;
  
 
 
 註:1.“ ”表示平蓋,“  ”表示吊蓋。 2.在正常情況下,吊蓋與通頭同口徑,如特殊要求可特製。 3.通頭一般為圓柱管螺紋G1/2"、G1"如特殊要求可特製。 標註舉例: 1.BHD51-3/4B含義:BHD51隔爆型接線盒,管螺紋為G3/4"直二通平蓋。 2.BHD51-1/2含義:BHD51(AH)隔爆型接線盒,管螺紋為G1/2"直角二角吊蓋。 | 額定電壓(V) | 額定電流(A) | 防爆標志 | 螺紋規格(G) | 防護等級 |  | 380 | 20 | Exd II BT6 * Exd II CT6 * Exe II T5 | 1/2 3/4 1 | IP54 * IP55 | 
  
 
 IIB類,增安型接線盒外形尺寸 | 電纜外徑(φ,mm) | 管螺蚊(G") | A | B | C | D |  | 6-10 | 1/2 | 160 | 108 | 106 | 63 |  | 8-14 | 3/4 | 160 | 108 | 106 | 63 |  | 12-17 | 1 | 168 | 108 | 105 | 63 | 
 
 IIC類,接線盒外形尺寸 | 規格 | L | H | H1 |  | G1/2 | 185 | 85 | 110 |  | G3/4 | 185 | 85 | 110 |  | G1 | 185 | 85 | 110 | 
 
 1、訂貨時請確定你所需要的接線盒為幾通,出線口大小,如有其它要求請訂貨時說明。   | 
   |  | 提供技術咨詢:400-606-6006 我們會在8個小時以內,根據您的需要為您提供任何專業技術及價格方麵的咨詢,或者及時對於您所關心的任何問題給予快速回復等等。提供考察接待:我們歡迎您隨時隨地蒞臨公司現場考察,並為您提供任何便利條件。無論您是國外的客戶還是國內的客戶,無論您是我們的老客戶還是我們的新朋友,無論您的合同經額是大還是小,我們都將誠信、公平、熱情、嚴謹地同一對待;我們保證守時、保質、保量地嚴格執行合同規定的各項條款,並且為客戶提供超值的服務等
 |  |  
 |  | 1.本公司的產品多數都為大件物品,均由物流運輸且隻送到當地物流客戶自提(如需送貨上門請和工作人員溝通說明).   2.小件物品如有要求可根據客戶需要發指定快遞。物流/提貨是由用戶付運費   3.因用戶遍佈全國各地,公司無法明確物流費用的具體價格,所以公司實行需方付運費政策,如有不便敬請諒解,特殊情況另定 | 
 |